搬来的 看见需要sg11拓展就懒得测试了!介绍说是运营级的
可搭建!运营级!首次公开!
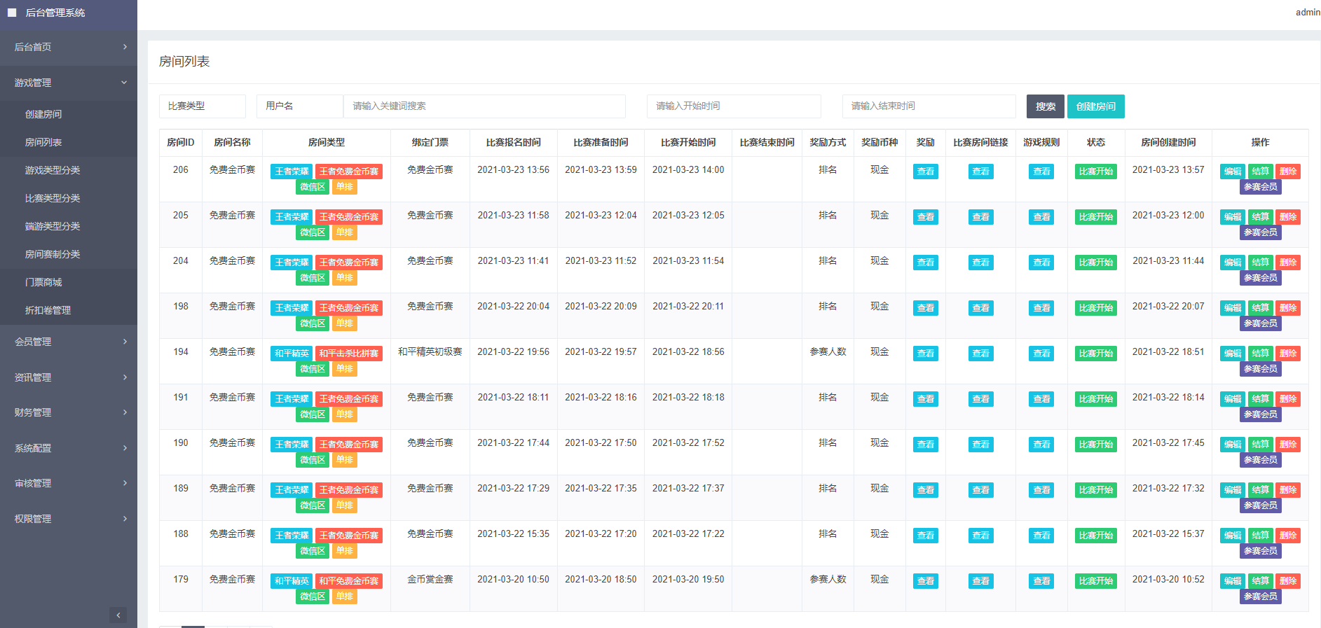
赏金赛源码,用户通过平台打比赛,赢了获得奖金奖励,金币赛、赏金赛、vip赛等种赛事.可开王者荣耀、和平精英比赛
支持1v1、单排、双排组、战队排等多种比赛模式
支持QQ区、微信区
游戏玩的好的玩家可以通过打比赛赚钱
平台可以通过比赛抽水 、会员充值、手续费盈利
设备需求:服务器+域名运营级源码 ,可二开!

搬来的 看见需要sg11拓展就懒得测试了!介绍说是运营级的
可搭建!运营级!首次公开!
赏金赛源码,用户通过平台打比赛,赢了获得奖金奖励,金币赛、赏金赛、vip赛等种赛事.可开王者荣耀、和平精英比赛
支持1v1、单排、双排组、战队排等多种比赛模式
支持QQ区、微信区
游戏玩的好的玩家可以通过打比赛赚钱
平台可以通过比赛抽水 、会员充值、手续费盈利
设备需求:服务器+域名运营级源码 ,可二开!
